If we take into account all the rumors surrounding the next iPhone 7 and its derivatives, there is currently no way to get a clear idea of how to be the next model of iPhone. Rumors say that the connection jack has already gone down in history. Other than the …
Read More »The next iPhone 7 could also come in black space
And if we have already passed the 2016 WWDC Keynote, now what touch is to focus on the next device of the guys at Apple: iPhone 7. And it is that in this case we are having rumors almost from the day in which emerged the latest iPhone, iPhone 6s. …
Read More »Apple Watch 2 would have GPS, would be water resistant and will monitor the coals when swimming
And we continue talking about rumors, but this time related to Apple Watch 2, the second generation of the smartwatch Apple. According to the latest rumors, Apple will this new device together with the iPhone on September 7, but until the end of year do not reach the market. But …
Read More »Apple might use screens microLED to Apple Watch
No news about Apple Watch 2, the model assumed Apple will take this year to renew its smartwatch with some improvements such as the GPS or even the possibility of being independent of the iPhone, but more than one year after its debut, the Apple Watch has no successor. Meanwhile, …
Read More »Apple may be working on new monitors Thunderbolt in what we were?
Today if, tomorrow, this isn’t the never ending story. The saga of the Thunderbolt monitors seems that it will extend for some time. Days before the keynote several rumors claimed that the company had intended to introduce new models of Thunderbolt Display with resolution 5 k and Integrated GPU. But …
Read More »June, month for improvements of the MacBook Air
Apparently, according to the information that appeared in the Japanese blog Macotakara, Apple will this month present a new model of MacBook Air. The same would be released over the summer, more specifically in the month of August, but it doesn’t seem that this is going to be quite true …
Read More »Samsung launch mobile with flexible display in 2017
00 Samsung, global manufacturer of screens and mobile phones, plans to launch two new models of smatphones starting in 2017. Each of them will belong to a new range of movles Samsung with a screen OLED completely malleable, i.e. a screen that you can fold. According to reports on Bloomberg, …
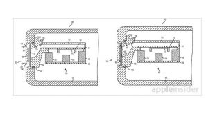
Read More »Apple records new patents related to damage by liquids
Apple continues with his career of patents, it is rare that I do not offer an every two or three months, and many analysts always is what are the novelties of Apple in this aspect, since often it indicates in what are thinking of Cupertino and what will be the …
Read More »Analysts predict a resounding success of the iPhone 7
We would like to say that iPhone 7 is just around the corner, but it is not, we first WWDC 2016 and consequent presentation of iOS 10, something that many expect. However, rumors about iPhone 7 do not stop, at the end of September should be presented the new vessel …
Read More »Xiaomi says prepare a rival to the iPhone is
If the iPhone has triumphed so much, is basically for one reason: it has No rival. And so, we are faced with the most powerful device in four inches, no brand, although it has similar devices, offers a quality of Assembly and a top-quality hardware, are simple small mid-range devices …
Read More »